来源:米内网
1月29日,康缘药业提交了青参通络颗粒的临床申请获得CDE承办,该产品是公司今年首个申报的中药1.1类新药。2020年至今,康缘药业已陆续获批了9款中药新药,中药创新龙头实至名归。2025年Q1-Q3在中国三大终端六大市场,康缘药业是中成药市场TOP14集团(一级)。
图1:康缘药业最新申报的中药新药

来源:CDE官网
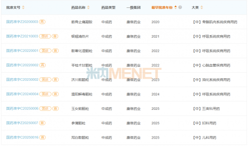
图2:2020年至今康缘药业获批的中药新药

来源:米内网中国上市药品(MID)数据库
米内网数据显示,有“中药创新龙头”美誉的康缘药业,2020年至今每年均有新药获批,其中2021年获批的银翘清热片和2025年获批的参蒲颗粒均为中药1.1类新药。
2024年在中国三大终端六大市场(统计范围见文末),中成药的销售规模超过了4100亿元,2025年Q1-Q3康缘药业是中成药市场TOP14集团(一级),销售额已超35亿元。
表1:2025年Q1-Q3康缘药业中成药TOP20产品

来源:米内网格局数据库
康缘药业在2020年获批上市的中成药6.1类新药筋骨止痛凝胶,已成功挺进公司中成药TOP20产品榜单,销售贡献率在2025年Q1-Q3提升至0.96%,公司的中药新药未来可期。
图3:康缘药业报产在审的中药新药

来源:米内网中国申报进度(MED)数据库
今年1月20日,康缘药业提交了热毒宁颗粒中药2.1类新药的上市申请获得承办,目前公司共有4款中药新药报产在审,1.1类新药涉及六味地黄苷糖片和苏辛通窍颗粒。
猜你喜欢
拒收人民币现金,2家单位被处罚
iPad中国市场份额大跌 华为再夺中国平板第一 暴增21%
重点聚焦!华丰科技回应产品是否进入“真武”PPU供应链
半导体板块涨3.46% 利扬芯片涨19.99%居首
【报资讯】2026“乐购新春”活动将启 打造春节消费盛宴
LECICI“时光盲盒”在京开启,童声解锁LiveHouse新舞台
国家开放大学首届新商科创新创业大赛现场赛在北京举办